试题详情
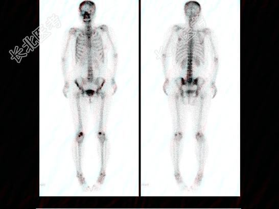
- 多项选择题右乳癌根治术后5年,无明显不适, 血清CA153正常,行全身骨显像如图, 可能的诊断是 ( )

A、多发骨转移瘤
B、腰椎退行性改变
C、大致正常的骨影像
D、腰4、5骨转移瘤
E、骨质疏松
关注下方微信公众号,搜题查看答案

热门试题
- 下列哪些属于运动实验禁忌证A、急性心肌梗
- 1、诊断可能性最大的是A、左股骨骨肉瘤伴
- 核医学计算机的软件有很多功能,其功能通常
- 放射性核素内照射治疗的特点包括A、靶向性
- 关于检测存活心肌的显像方法,下列正确的有
- 男,26岁, 1年前发现左侧腹股沟肿胀伴
- 骨骼各部位聚集放射性核素骨显像剂的多少,
- 1、术后患者行体格检查、相关影像学检查及
- 1、建议患者首选的检查项目是2、如上述检
- 女性,62岁, 诉腰背痛1月余,行
- 下列属于校准和质量控制软件的内容是A、图
- 放射性核素骨显像可显示“冷区”的疾病有哪
- 常用的SPECT心肌灌注显像方案 (
- 下列有关PET探测器的描述错误的是A、探
- LAO45度平面心肌灌注显像,可显示左室
- 肺灌注显像的临床应用价值 (
- 以下属于发射β射线核素的是A、AtB、I
- 关于放射防护基本原则的说法哪些是正确的A
- 对于核素显像,下列论述正确的是A、核素显
- 关于SPECT,下列描述正确的是A、是在