试题详情
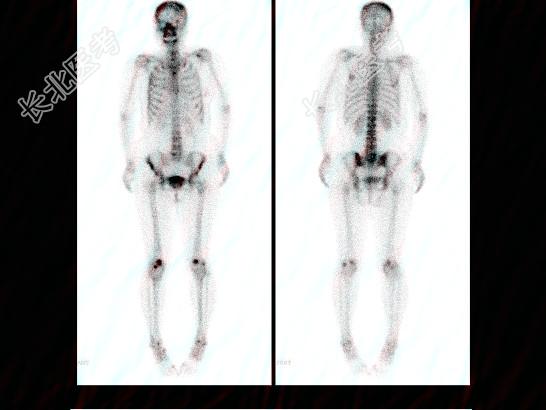
- 多项选择题右乳癌根治术后5年,无明显不适, 血清CA153正常,行全身骨显像如图, 可能的诊断是 ( )

A、多发骨转移瘤
B、骨质疏松
C、腰椎退行性改变
D、腰4、5骨转移瘤
E、大致正常的骨影像
关注下方微信公众号,搜题查看答案

热门试题
- 骨转移主要为成骨和溶骨混合性反应的是A、
- 骨转移瘤是A、癌、肉瘤或其他恶性病变转移
- 男,67岁, 诉全身多处疼痛4月余,行全
- 骨肉瘤好发于A、颅骨B、骨盆C、肋骨D、
- 下列哪些疾病可引起超级影像表现 (
- 男,8岁, 小脑星形胶质细胞瘤术后5个月
- 下列何种恶性肿瘤最容易发生全身骨转移
- 下列是恶性骨骼病变的疾病是A、骨软骨瘤B
- 女性,72岁, 双下肢间歇性钝痛3个月,
- 骨转移瘤按病灶的密度及形态分为四类,下列
- 男,21岁, 临床诊断胃癌,诉全身多处骨
- 女性,38岁, 血象三系减少,骨穿两次均
- 鉴定骨折线是近期损伤或为陈旧性损伤的最灵
- 下列关于骨密质的结构,错误的是A、外环骨
- 骨肉瘤发病的主要年龄段是A、10~14岁
- 89Sr在临床上广泛用于治疗骨转移癌,其
- 急性骨髓炎ECT早期显示骨质异常的时间为
- 骨转移癌出现超级骨影像表现,以下列哪种疾
- 放射性核素治疗转移性骨肿瘤一般认为下列哪
- 未经治疗的恶性肿瘤骨转移中,骨转移灶18