试题详情
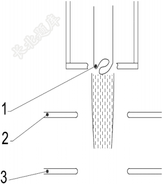
- 单项选择题电子枪用于产生电子束,是电子束的源头,它由阴极、聚焦极、阳极等组成。直热式电子枪实物图中序号1指的是_______。( )

A、聚焦极
B、发射极
C、阳极
D、阴极
关注下方微信公众号,搜题查看答案

热门试题
- 如图所示,工业加速器出入口门的要求是__
- 图为直热式电子枪的阴极,其材料一般是__
- 图为加速器束下装置联锁,说法正确的是__
- 如图所示,加速器完全停机后,对冷却系统和
- 图中在辐照室和主机室的人员出入口只安装2
- 如图所示,从事加速器辐照的工作人员必须佩
- 图为加速器辐照室门口设置的灯光音响信号装
- 如图所示,工业用电子加速器的安全联锁系统
- 电子枪用于产生电子束,是电子束的源头,它
- 图为加速器安全联锁的主控钥匙,说法正确的
- 图为加速器防人误入的安全联锁装置,说法正
- 图为加速器安全联锁系统,说法正确的是__
- 如图所示,根据高压加速器加速带电粒子的基
- 图为工业加速器控制区出入口信号警示装置,
- 主机室和辐照室内还应设置_______,
- 图示为出入口控制型电子加速器,其特点是_
- 如图所示,放射防护门一般都嵌入到地面之下
- 如图所示,绝缘芯变压器加速器采用____
- 图示加速器辐照装置迷道,其属于_____
- 图片为加速器辐照室地下通风系统,其主要的